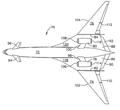
Boeing patent features new sonic aircraft concept drawing
Photo from US Patent Application, THE BOEING COMPANY, Published April 19, 2012 Boeing has filed a new patent in which it updates its sonic cruiser sketches originally filed with the US Patent office in 2003, though a BCA Engineering spokesperson told ATW “[The] patent is on low noise technology, not...
Subscription Required
This content requires a subscription to one of the Aviation Week Intelligence Network (AWIN) bundles.
Schedule a demo today to find out how you can access this content and similar content related to your area of the global aviation industry.
Already an AWIN subscriber? Login
Did you know? Aviation Week has won top honors multiple times in the Jesse H. Neal National Business Journalism Awards, the business-to-business media equivalent of the Pulitzer Prizes.




