Air Transport Aircraft & Propulsion

May 08, 2012
EVA Air has finalized an order for three Boeing 777-300ERs, including purchase rights for four aircraft, the two companies announced.
May 03, 2012
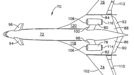
Boeing has filed a new patent in which it updates its sonic cruiser sketches originally filed with the US Patent office in 2003, though a BCA Engineering spokesperson told ATW “[The] patent is on low noise technology, not a sonic cruiser.
May 02, 2012
Qantas Group’s new low-cost subsidiary (LCC) Jetstar Japan (GK) has taken delivery of its first Airbus A320, as the Japanese LCC prepares to launch domestic services July 3, several months ahead of schedule.
May 02, 2012
Boeing’s newly announced winglet technology is expected to be the last major change to the 737 MAX before the aircraft design is finalized, the program’s chief engineer said Wednesday.
May 02, 2012
Mitsubishi Aircraft Corp.’s decision in April to delay the MRJ program by more than a year has not yet affected Pratt & Whitney’s schedule to develop the PW1200G geared turbofan (GTF) powerplant for the aircraft, evidenced by the start of engine flight testing this week on Pratt’s flying test bed 747SP.
May 02, 2012
Lufthansa’s (LH) first Boeing 747-8 Intercontinental flew to its permanent home base in Frankfurt Airport (FRA) Tuesday.
Apr 30, 2012
Pratt & Whitney has launched ultrasonically pulsed waterjet stripping method PurePulse, a technology to remove hard coatings/materials applied by thermal spraying and plating processes, using 30% of the pressure of traditional units.
Apr 30, 2012
Airbus has rolled out the first new-build A320 with sharklets from its Toulouse facility.