Supersonic bizjet? Don't hold your breath says Gulfstream....
Gulfstream has demonstrated the long legs and high-speed of its latest, and most advanced product to-date, the G650, by flying it westbound around the world in a record beating 41 hours, 7 minutes.
The flight, which began in San Diego, Calif, on July 1, covered 20,310 nautical miles and included stops in Guam, Dubai and Cape Verde, before returning to San Diego. The flight was flown at the G650’s high-speed cruise setting of Mach 0.9.
With 36 G650s in service now, Gulfstream is getting interesting feedback about the aircraft and its attributes – particularly its speed. “The thing most people talk about is the speed,” says Gulfstream president of product support Mark Burns.
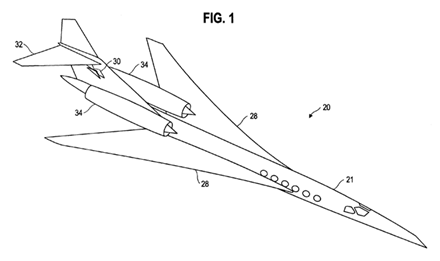
So all this underlines what Gulfstream and many other aircraft makers already know – the need for speed remains compelling. But is the time finally ripe for the long-anticipated jump to supersonic flight and the development of the elusive faster-than-sound business jet? After all, Gulfstream has done more than perhaps any other airframe maker to promote the concept, and recently filed a patent for a low/no-sonic boom design that could yet form the basis for a high-speed NASA X-plane demonstrator dubbed the X-54.

But the reality remains starkly different says Gulfstream senior VP marketing and sales Scott Neal. “In order to make the market viable for supersonics you have to make it feasible to fly overland faster than sound – which is currently against the law. We don’t think there is a viable market until you change that.”

But the reality remains starkly different says Gulfstream senior VP marketing and sales Scott Neal. “In order to make the market viable for supersonics you have to make it feasible to fly overland faster than sound – which is currently against the law. We don’t think there is a viable market until you change that.”
Aerion’s long running supersonic design work, by contrast, generally assumes no change in this law, and depends for its viability on high subsonic speed overland and supersonic dash speeds over water. “It’s basically too early to determine yet when this will happen,” says Neal.