https://aviationweek.com/themes/custom/particle/dist/app-drupal/assets/AW_logo_horizontal_small_white.svg
Skip to main content
  • Market Sector
    • Aerospace
    • Air Transport
    • MRO
    • Defense
    • Space
    • Business Aviation
  • Markets
    • Aerospace
      • Aircraft & Propulsion
      • Connected Aerospace
      • Emerging Technologies
      • Manufacturing & Supply Chain
      • Advanced Air Mobility
      • Sustainability
    • Air Transport
      • Aircraft & Propulsion
      • Interiors & Connectivity
      • Airports & Networks
      • Airlines & Lessors
      • Safety, Ops & Regulation
      • Maintenance & Training
      • Sustainability
    • MRO
      • Aircraft & Propulsion
      • Interiors & Connectivity
      • Emerging Technologies
      • Supply Chain
      • Safety, Ops & Regulation
      • Workforce & Training
      • Sustainability
    • Defense
      • Aircraft & Propulsion
      • Sensors & Electronic Warfare
      • Missile Defense & Weapons
      • Supply Chain
      • Budget, Policy & Operations
      • Sustainability
    • Space
      • Launch Vehicles & Propulsion
      • Commercial Space
      • Space Exploration
      • Satellites
      • Budget, Policy & Regulation
      • Operations & Safety
    • Business Aviation
      • Aircraft & Propulsion
      • Interiors & Connectivity
      • Airports, FBOs & Suppliers
      • Flight Deck
      • Safety, Ops & Regulation
      • Maintenance & Training
      • Sustainability
    • In Focus
      • Middle East & Africa
  • Marketplace
  • Services
    • Services
      • Advertising
      • Marketing Services
      • Fleet, Data & APIs
      • Research & Consulting
      • Network and Route Planning
      • Marketplace
  • Store
    • Market Sector

      • Aerospace
      • Air Transport
      • MRO
      • Defense
      • Space
      • Business Aviation
    • Type View All Products
      • Intelligence Bundles
        • AWIN - Premium
        • AWIN - Aerospace and Defense
        • AWIN - Business Aviation
        • AWIN - Commercial Aviation
      • Market Briefings
        • Aerospace Daily & Defense Report
        • Aviation Daily
        • SpeedNews
        • The Weekly of Business Aviation
      • Directories
        • Air Charter Guide
        • Aviation Week Marketplace
        • Route Exchange
        • The Engine Yearbook
      • Data Services
        • AC-U-KWIK
        • Aircraft Bluebook
        • Airportdata.com
        • ASM Global Route Development
        • CAPA – Centre for Aviation
        • Catchment Analyzer
        • Defense Market Analyzer
        • Fleet Discovery Civil
        • Fleet Discovery Military
        • Fleet & MRO Forecast
        • MRO Prospector
        • Tracked Aircraft Utilization
      • Publications
        • African Aerospace
        • Air Transport World
        • Arabian Aerospace
        • Aviation Week & Space Technology
        • Aviation Week & Space Technology - Inside MRO
        • Business & Commercial Aviation
        • CAPA - Airline Leader
        • Routes magazine
  • Events
    • Recent webinars
    • Events View All Events
      • MRO
        • MRO Americas
        • MRO Asia
        • MRO Australasia
        • MRO Baltics & Eastern Europe Region
        • MRO Europe
        • MRO Greater China
        • MRO Latin America
        • MRO Middle East
        • MRO Southeast Asia
        • Military Aviation Logistics and Maintenance Symposium (MALMS)
      • Commercial Aviation/A&D
        • Aero-Engines Americas
        • Aero-Engines Europe
        • Aero-Engines Asia-Pacific
        • Engine Leasing Trading & Finance Europe
        • Engine Leasing, Trading & Finance Americas
      • Air Transport
        • Routes Americas
        • Routes Europe
        • Routes World
        • CAPA Airline Leader Summit - Airlines in Transition
        • CAPA Airline Leader Summit - Americas
        • CAPA Airline Leader Summit - Latin America & Caribbean
        • CAPA Airline Leader Summit - Australia Pacific
        • CAPA Airline Leader Summit - Asia & Sustainability Awards
        • CAPA Airline Leader Summit - World & Awards for Excellence
        • GAD Americas
        • GAD World
      • Aerospace and Defense
        • Defense Conference
      • Awards
        • Aviation Week 20 Twenties
        • Aviation Week Laureate Awards
        • ATW Airline Awards
        • Program Excellence Awards and Banquet
        • CAPA Asia Aviation Summit & Awards for Excellence
        • Space Tech Challenge Awards
  • About
    • About Aviation Week Network
      • Our Story
      • Content and Data Team
      • Aviation Week & Space Technology 100-Year
    • Contact Us
      • Subscriber Services
      • Advertising, Marketing Services & List Rentals
      • Content Sales
      • Events
      • PR & Communications
      • Content Licensing and Reprints
      • FAQ
  • Log In
  • Register
  • My Account
    • Profile
    • Sign Out
  • AWIN Access
  • My cart
    Back to
  1. Aerospace

Share

In Pictures: Top Aerospace & Defense Stories, Oct. 23 2023

October 24, 2023

Airbus, Northrop Grumman Team For UK Skynet Modernization

Credit: Airbus Defense and Space UK.

Airbus and Northrop Grumman have teamed up to bid on the modernization of the UK’s Skynet military communications satellites.

Pakistan, Belarus Join China’s Lunar Research Station

Credit: NASA.

Pakistan and Belarus have joined the China-led International Lunar Research Station (ILRS) program, according to the China National Space Administration (CNSA).

DOD Surges More Air Defenses To Middle East As Attacks Continue

Credit: Navy.

The Pentagon is surging additional advanced air defense systems to the Middle East amid an increase in attacks on its forces in the region, with the threat only expected to rise amid Israel’s bombing campaign in Gaza.

Airbus To Upgrade French A330 MRTTs

Credit: Airbus Military.

Airbus Defense and Space has agreed to upgrade France’s A330 Multi-Role Tanker Transports (MRTT) and turn the aircraft into communications nodes with enhanced command and control (C2) capabilities.

Commercial Lunar Services Company Qosmosys Gets $100m Investment

Credit: Qosmosys.

A Singapore-based company with French and U.S. offices has announced a “record-setting” $100 million “seed” round of venture capital investment toward its proposed platform for lunar transportation.

German At-Sea Launch Consortium Planning Spring 2024 Demonstration

Credit: German Offshore Spaceport Alliance.

A team of European rocket developers are to help prove German ambitions for satellite launch at sea with a series of suborbital launches planned for spring 2024.

The Debrief: California Company Makes First Export Move For AI-Piloted Platforms

Credit: EpiSci

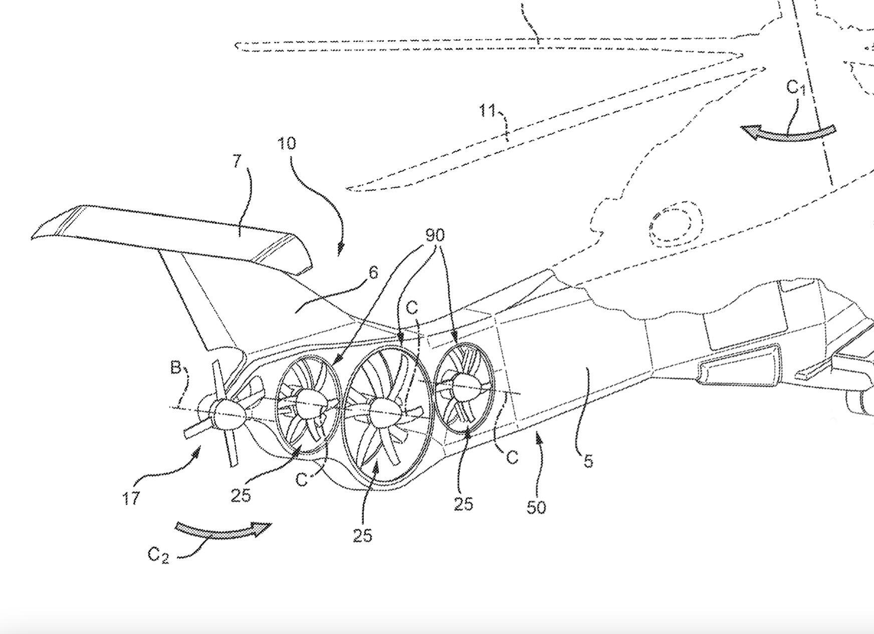
Leonardo Patents Multifan Anti-Torque System

Credit: Leonardo Patent.

Leonardo Helicopters has applied for a patent for a multifan electric anti-torque system that would reduce weight and noise levels compared with a traditional tail rotor system.

Previous
Next

NASA addressing two issues with twin voyager spacecraft and commercial lunar services company qosmosys gets $100m investment. Take a look at these and more in our daily roundup of aerospace & defense news.

These are some of the top stories from AWIN. Subscribe now for unrivalled, intelligent content, trustworthy data, exclusive analytics and meaningful insight. AWIN Premium is the only online resource that spans the commercial, military, business aviation and MRO market sectors.

With a focus on the programs and technologies shaping the market, as well as the most robust databases in the industry, AWIN Premium simplifies locating new business opportunities so you can generate new revenue.

AWIN Premium Membership includes Aviation Daily, Aerospace Daily & Defense Report, and The Weekly of Business Aviation, and digital access to Aviation Week & Space Technology, Inside MRO, Air Transport World (ATW), and Business & Commercial Aviation (BCA).

  • Subscribe to AWIN 
Aviation Week Intelligence Network
Monitor the market and connect your business to the people, programs and proprietary data driving the Aerospace & Defense market - only available with AWIN.

ASD_AWIN_thumbnail_270

Stay Connected.
Stay Informed
Grow Your Business.

Learn How

Follow us on

Markets

  • Aerospace
  • Air Transport
  • MRO
  • Defense
  • Space
  • Business Aviation

Products

  • AWIN Intelligence Bundles
  • Market Briefings
  • Publications
  • Data Services
  • Directories
  • Resources

Contact Us

  • Subscriber Services
  • Advertising, Marketing Services & List Rentals
  • Content Sales
  • Events
  • PR & Communications
  • Content Licensing and Reprints
  • FAQ

Other Resources

  • Aviation Week Marketplace
  • Knowledge Center
  • Newsletters
  • ShowNews
  • Advertising - Media Kits
  • Japanese 日本語
  • Korean 한국인
Copyright © 2026. All rights reserved. Informa Markets, a trading division of Informa PLC.
  • Accessibility
  • Privacy Policy
  • Cookie Policy
  • Terms of Use